
文章图片

华图事业单位考试网为考生提供2022年2月11日全国事业单位考试(sydw8.com)招考信息以及备考考试相关信息 。 详细公告内容请看下文:
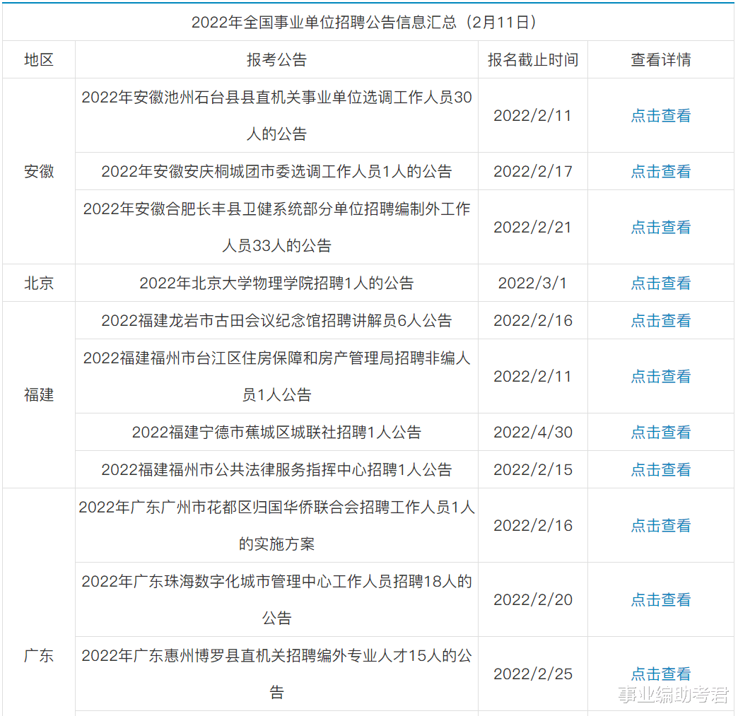
公告截图汇总1
公告截图汇总2
公告汇总截图3
事业单位结构化面试题型自我认知:
自我认知是事业单位的重点考核题型 , 侧重求职动机和能岗匹配的考核 , 往往是很多省市事业单位面试的题 。
【春节|2022年事业单位招聘公告汇总(2月11日)】自我认知主要有两种考核题型 , 一种是求职动机 , 一种是能岗匹配 。 求职动机重点考核考生的考试动机 , 题目的设定主要为询问考生的优点、缺点、能力、经历、爱好、考试动机和自我评价等等 , 简而言之 , 求职动机题型侧重对于考生自身情况的考核;能岗匹配 , 顾名思义是指能力和岗位需求相匹配 , 正因如此 , 能岗匹配题型侧重考核考生工作层面的相关能力 , 比如执行力、敬业精神、职业道德、团队意识、组织文化等等 , 简而言之 , 能岗匹配题型侧重考核考生的能力是否与岗位相匹配 。
- 穿衣搭配|应届毕业生有福了,知名211高校招聘辅导员,录取后可享事业编
- 元宵节!春节后第一个节日丨元宵节 既传统又现代
- 段芝璞|元宵节|人圆 事圆 花好月圆
- 古代|春节后第一个节日丨元宵节 既传统又现代
- 家人|2022年2月15日元宵节快乐问候祝福简短语句 元宵节快乐祝福语图片大片
- 扇面@云南美术馆2022年首展——第十二届迎春扇面作品将展出至3月13日
- 艺术中心|杭州话剧艺术中心重磅官宣2022年春夏演出计划
- 直播|2022年文化进万家 视频直播家乡年——皮影戏
- 美术生@不开玩笑的!春节,99%的美术生想这样过
- 春节|2022乡镇公务员招聘条件放宽,增加“三不限”岗位,专科生也能报
